Wipers for 2022 BMW 430i Gran Coupe
No.
Part # / Description / Price
Price
4
Wiper Blade Set
BMW
BMW Notes: PARTS: Part includes both sides.
Description: Genuine BMW Wiper Blade Set. Set of 2. G42 2 Series, G2x 3 and 4 Series (including G8x M3/M4). Wiper blades play an active role in driving safety. They must provide performance in every situation as well as being perfectly tailored to the aerodynamic conditions of every BMW . Original BMW Wiper Blades are engineered to meet all of these requirements resulting in perfect wiper performance combined with a lower noise level compared to conventional structured blades.
MSRP $84.14
$58.90
MSRP $84.14
$58.90
5
Motor & Linkage
BMW
BMW Description: M4. M3. I4. 330e xDrive. 330i xDrive. M340i xDrive. Sedan,. M440i Gran Coupe. 430i xDrive Gran Coupe.
MSRP $665.34
$495.01
MSRP $665.34
$495.01
7
MSRP $13.97
$11.18
9
MSRP $14.19
$11.35
11
MSRP $3.44
$2.86
12
MSRP $101.60
$75.59
12
MSRP $101.60
$75.59
13
MSRP $34.53
$28.49
No.
Part # / Description / Price
Price
2
Mirror Inside
BMW
BMW Notes: PARTS: Order by application.
Description: With garage opener. With driving assistant professional, with driving assistant professional. 2022-25, with homelink. Sedan, without M3, without auto high beam.
9
Sensor
BMW
BMW Notes: PARTS: Order by application.
Description: Z4. Coupe. With hud. X5. To 03/20. X7. With head-up display, 11/2018 to 03/2020. 330i.
9
Rain Sensor
BMW
BMW Notes: PARTS: Order by application.
Description: Z4. Without head-up display.
MSRP $351.73
$278.57
MSRP $351.73
$278.57
No.
Part # / Description / Price
Price
6
Sensor
BMW
BMW Description: Z4. Coupe. With hud. X5. To 03/20. X7. With head-up display, 11/2018 to 03/2020. 330i.
6
MSRP $351.73
$278.57
No.
Part # / Description / Price
Price
6
MSRP $351.73
$278.57
6
Sensor
BMW
BMW Description: Z4. Coupe. With hud. X5. To 03/20. X7. With head-up display, 11/2018 to 03/2020. 330i.
7
Lane Assist Cmra
BMW
BMW Description: Windshield. From 3/22. With hands-free driving, fm 03/22 to 07/22. 745e xDrive. Front camera. With driving assist pro.. From 3/2022. 530e. 540i xDrive.
MSRP $2,049.72
$1,602.88
MSRP $2,049.72
$1,602.88
No.
Part # / Description / Price
Price
7
MSRP $351.73
$278.57
7
Sensor
BMW
BMW Description: Z4. Coupe. With hud. X5. To 03/20. X7. With head-up display, 11/2018 to 03/2020. 330i.
No.
Part # / Description / Price
Price
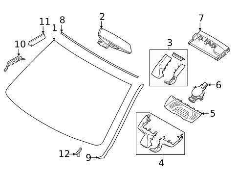
1
Windshield
BMW
BMW Description: Bmw, without drive assist pro, without head-up display.
MSRP $682.15
$425.66
MSRP $682.15
$425.66
1
Windshield
BMW
BMW Description: Bmw, with drive assist pro, without head-up display.
MSRP $682.15
$425.66
MSRP $682.15
$425.66
1
Windshield
BMW
BMW Description: Bmw, without drive assist pro, with head-up display.
MSRP $682.15
$425.66
MSRP $682.15
$425.66
1
MSRP $946.22
$624.50
2
Side Molding Bumper
BMW
BMW Positions: Left
Description: Convertible. Coupe. With active driving assistant pro. Sedan,.
MSRP $4.32
$3.48
MSRP $4.32
$3.48
3
Mirror Inside
BMW
BMW Description: Without garage opener. Without high beam asst, with led. 2022-25, without homelink. Without M3, without auto high beam.
MSRP $786.91
$623.23
MSRP $786.91
$623.23
3
Mirror Inside
BMW
BMW Description: With garage opener. With driving assistant professional, with driving assistant professional. 2022-25, with homelink. Sedan, without M3, without auto high beam.
4
Mirror Cover
BMW
BMW Description: Coupe, without driver assist. Without drive asst pro.
MSRP $37.01
$32.39
MSRP $37.01
$32.39
5
MSRP $37.09
$32.45
6
MSRP $35.29
$29.11
7
MSRP $351.73
$278.57
8
Lane Assist Cmra
BMW
BMW Description: Windshield. From 3/22. With hands-free driving, fm 03/22 to 07/22. 745e xDrive. Front camera. With driving assist pro.. From 3/2022. 530e. 540i xDrive.
MSRP $2,049.72
$1,602.88
MSRP $2,049.72
$1,602.88
11
MSRP $2.70
$2.25
11
MSRP $4.50
$3.74
12
MSRP $15.42
$12.34
12
MSRP $15.42
$12.34
No.
Part # / Description / Price
Price
9
Sensor
BMW
BMW Notes: PARTS: Order by application.
Description: Z4. Coupe. With hud. X5. To 03/20. X7. With head-up display, 11/2018 to 03/2020. 330i.
9
Rain Sensor
BMW
BMW Notes: PARTS: Order by application.
Description: Z4. Without head-up display.
MSRP $351.73
$278.57
MSRP $351.73
$278.57
No.
Part # / Description / Price
Price
5
Sensor
BMW
BMW Description: Z4. Coupe. With hud. X5. To 03/20. X7. With head-up display, 11/2018 to 03/2020. 330i.
No.
Part # / Description / Price
Price
5
Sensor
BMW
BMW Description: Z4. Coupe. With hud. X5. To 03/20. X7. With head-up display, 11/2018 to 03/2020. 330i.
No.
Part # / Description / Price
Price
7
Sensor
BMW
BMW Description: Z4. Coupe. With hud. X5. To 03/20. X7. With head-up display, 11/2018 to 03/2020. 330i.
No.
Part # / Description / Price
Price
9
Sensor
BMW
BMW Description: Z4. Coupe. With hud. X5. To 03/20. X7. With head-up display, 11/2018 to 03/2020. 330i.
Related Parts
Part # / Description / Price
Price
Sensor
BMW
BMW Description: Z4. Coupe. With hud. X5. To 03/20. X7. With head-up display, 11/2018 to 03/2020. 330i.
MSRP $351.73
$278.57










